大尾遊戲
2024-08-01 11:34:14

例如抽到10%的返利券,給2000鑽的訂單使用
就能額外獲得2000 X 10% = 200鑽石
相當於這筆訂單總共獲得2200鑽石
1.每天在"抽獎活動"介面,抽獎獲得返利券
一天有一次抽獎機會
2.獲得返利券之後,再下單購買一筆鑽石(需支付完成)
重要:先抽返利券再下單,獲得返利券之前的訂單無法使用返利券
重要:先抽返利券再下單,獲得返利券之前的訂單無法使用返利券
重要:先抽返利券再下單,獲得返利券之前的訂單無法使用返利券
3.再點擊"查看我的返利券"
4.在個人中心使用返利券
5.選擇剛才購買鑽石的訂單,點擊提取鑽石
6.提取鑽石後,就能返利鑽石到帳號中保留
也可以選擇伺服器馬上提取
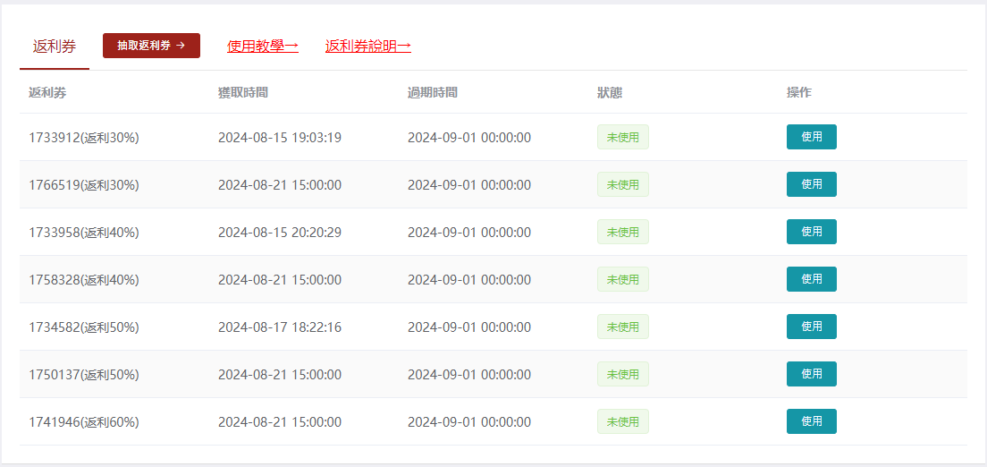
1.一個帳號一天有一次抽獎機會,有機會獲得一張返利券。(僅限當天獲得有效,次日00:00返利券將會失效)
2.一張返利券可以使用在一個符合規則的訂單。
3.抽獎獲得的返利券只能用於當日下單並且成功支付的訂單。
4.獲得返利券之前的訂單無法使用返利券。
5.需要先獲得返利券之後,再進行贊助一筆新訂單,才可以使用。
6.使用成功後,即可獲得對應訂單的金額 x 返利券顯示百分比的鑽石。